 |
|
青州恒日金屬制品有限公司
電話:0536-2133230
傳真:0536-2137228
Email:master@hansing.com.cn
地址:青州市經濟開發區東京路1809號
網址:www.wordtracker.cn
郵編:262500
|
|
|
|
|
|


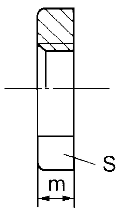
R |
1/8 |
1/4 |
3/8 |
1/2 |
3/4 |
1 |
DN |
6 |
8 |
10 |
15 |
20 |
25 |
S |
19 |
22 |
27 |
32 |
37 |
46 |
M |
6 |
6 |
7 |
8 |
9 |
10 |
R |
11/4 |
11/2 |
2 |
21/2 |
3 |
4 |
DN |
32 |
40 |
50 |
65 |
80 |
100 |
S |
55 |
62 |
76 |
95 |
105 |
135 |
M |
11 |
12 |
13 |
16 |
19 |
22 |
|
|
|